絮凝池搅拌机的设计及其工艺流程
来源:wenku7.com 资料编号:WK75167 资料等级:★★★★★ %E8%B5%84%E6%96%99%E7%BC%96%E5%8F%B7%EF%BC%9AWK75167
以下是资料介绍,如需要完整的请充值下载。
1.无需注册登录,支付后按照提示操作即可获取该资料.
2.资料以网页介绍的为准,下载后不会有水印.资料仅供学习参考之用. 密 保 惠 帮助
资料介绍
摘要 完成絮凝过程的絮凝池(一般常称反应池),在净水处理中占有重要的地位。天然水中的悬浮物质及肢体物质的粒径非常细小。为去除这些物质通常借助于混凝的手段,也就是说在原水中加入适当的混凝剂,经过充分混和,使胶体稳定性被坏(脱稳)并与混凝剂水介后的聚合物相吸附,使颗粒具有絮凝性能。而絮凝池的目的就是创造合适的水力条件使这种具有絮凝性能的颗粒在相互接触中聚集,以形成较大的絮凝体(絮粒)。因此,絮凝池设计是否确当,关系到絮凝的效果,而絮凝的效果又直接影响后续处理的沉淀效果。絮凝搅拌机是絮凝池机械搅拌的装置,它主要用于废水处理的搅拌过程。本设计提到了絮凝池的设计,搅拌机的设计以及其工艺流程。(毕业设计网 ) 关键词: 絮凝池 混凝剂 沉淀效果 絮凝性能 Abstract Accomplish flocculation process flocculation pool (call reaction in general often pool) , handle middle in clean water occupying important position. Natural water suspension matter and limb matter grain diameter are very trivial.Be to dislodge these matter being backed by the means drifting along curdling generally , that is ,add the appropriate coagulant , blend through sufficiently in raw water, let colloid stability be spoiled the polymer (coming off after steady) and being situated between with coagulant water looks at and appraises an adsorption , makes a pellet have the flocculation function. But, that flocculation pool purpose is to create appropriate waterpower condition makes this have flocculation function pellet assembling, to form bigger flocculation body (catkin granule) in contacting middle mutually. But therefore, flocculation pool designs thinking that indeed or not, effect being related to a flocculation, the flocculation effect has direct impact to follow-up treatment precipitayion effect. The flocculation mixer is flocculation pool mechanical rabble device , it is used for the waste water treatment mixing process mainly. Design the design having mentioned flocculation pool originally, the mixer design and whose process flow. Keywords: Flocculation pool Coagulant Precipitayion effect Flocculation function
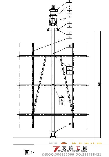
毕业设计课题的目的、意义 废水处理中反应搅拌机的目的是借助搅拌器的作用是使废水中的胶体颗粒絮凝形成较大的颗粒,以利沉淀,以满足水处理中水质净化的要求。本题目主要涉及水处理中絮凝工艺中反应搅拌机的设备设计,主要解决的问题是水处理中该设备的设计,包括:絮凝搅拌机、电动机及减速器的选型、支撑装置设计、轴的密封设置、絮凝池的设计,并画出相应的设备图。
反应搅拌机的工作原理 对于不同的介质,不同的化学反应过程,要求搅拌装置的结构和搅拌速度不同,根据不同的场合一般分为以下几种情况:1、液-液互溶系统的场合,一般采用低速搅拌就能足够完成,这种场合常用浆叶式搅拌装置。2、液-液互不相溶的场合,这种场合则需要强烈的上下翻滚,常用浆叶搅拌器,在釜体内加有一定形状的挡板,或采用推进式搅拌器。3、反应介质里有少量的固体且不易沉降时可采用比较缓和的搅拌,反之当反应介质或反应过程的生成物中固体较多,且容易沉降时必须采用强烈的上下的翻动的搅拌,这些搅拌均属于固-液相的搅拌系统。 在本人设计的课题中搅拌器中所搅拌的介质是废水,废水处理中反应搅拌机的目的是由电机作为驱动装置,经减速器联轴器带到直桨叶旋转使胶体颗粒絮凝形成较大的颗粒,以利沉淀,以满足水处理中水质净化的要求。
本课题的设计思路 (1).絮凝池的结构尺寸的确定; (2).搅拌机大小的确定及转速和功率的计算; (3).由搅拌机功率来做电机的选型设计; (4).由电机的型号尺寸来做联轴器的选型设计; (5).由联轴器的型号尺寸来决定轴径以及对所决定的轴径进行计算验证; (6).由轴径来做轴承的选型; (7).由轴承的尺寸来做机座及支撑座的选型设计。





目录 1 前 言 1 1.1 毕业设计课题的目的、意义、国内外现状 1 1.1.1 毕业设计课题的目的、意义 1 1.1.2 国内外污水处理的现状 1 1.2 搅拌机在污水处理中的作用 2 1.2.1 搅拌机的发展概述 2 1.2.2 反应搅拌机的工作原理 2 1.3 絮凝的工作原理 3 1.4 水处理中的搅拌设备 3 1.5 絮凝搅拌机的适应条件和构造 3 1.5.1 絮凝搅拌机的适应条件 3 1.5.2 絮凝搅拌机的构造 4 1.6 本课题的设计思路 5 2 絮凝池的设计 6 2.1 絮凝池的设计探讨 6 2.1.1 絮凝的相似关系 7 2.1.2 假设和设想 10 2.2絮凝池的设计要求及结果 15 3 絮凝搅拌机的设计 16 3.1设计原始数据 16 3.2设计要点 16 3.3设计计算数据 16 3.4桨叶的设计 17 (毕业设计网 ) 3.4.1桨叶结构尺寸确定 17 3.4.2搅拌器转速计算 17 3.4.3搅拌功率计算 19 4 电动机及减速器的选型 21 4.1减速器和电动机的选型条件 21 4.2电动机与减速器的选择 21 4.4搅拌轴的设计及其结果验证 23 4.5轴与桨叶、联轴器的连接 24 4.5.1连接形式 24 4.5.2联轴器与轴的连接 24 4.6轴承的选型及轴的最终确定 24 5 支撑装置设计 25 5.1搅拌机的支承部分 25 5.1.1机座 25 5.1.2轴承装置 26 5.2水下支撑座的设计 26 5.2.1轴承的选型 26 5.2.2支撑套的设计 27 6 轴的密封 28 7 结 论 30 符号说明 31 参考文献 32 谢 辞 33 附 件 34 外文翻译 35
|